編輯:北京凌鷹起重 瀏覽:10573 時間:2015-09-10
介紹一種體積小,操作方便,控制簡單,而且無污染、效率高的微型電動葫蘆超聲波電鍍裝置。
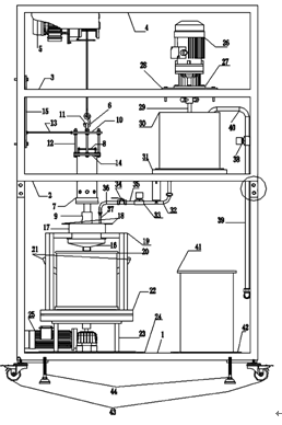
如下圖所示,這種超聲波電鍍裝置的主體框架有四層支架,分別為第一層支架1,第二層支架2,第三層支架3,第四層支架4。本實用新型的整個結構裝置可劃分為四個部分,分別為升降裝置,旋轉裝置,攪拌裝置,控制裝置。
升降裝置,就是將微型電動葫蘆5用螺絲固定在第四層支架4的左側,將超聲波換能器7置于微型電動葫蘆5的掛鉤6的正下方,超聲波換能器7成豎直放置,裝風扇8端向上,另一端為工具頭9,方向向下。超聲波換能器風扇8正上方有一金屬圓盤10,圓盤10上焊有掛環11,該圓盤10通過固定裝置12固定在超聲波換能器風扇8下的法蘭14上。連接桿13橫向放置,連接桿13左端穿過導軌15,并被卡住,其可沿著導軌15的U型中空位置做上下移動。連接桿13右端焊接在圓盤10上。微型電動葫蘆5的掛鉤6需能夠鉤住掛環11,可以通過該微型電動葫蘆控制超聲波換能器7的升降,由于連接桿13的作用,超聲波換能器7不會發生左右搖擺。
旋轉裝置,就是將水桶20固定在旋轉臺22中心處,水桶20的外桶壁上裝有一對把手21,方便抓取水桶。均勻分布在水桶20四周的支撐裝置19固定在旋轉臺22上,該支撐裝置用來支撐水桶20正上方的漏斗16,漏斗16內嵌套有一無底圓柱形水桶17,無底圓柱形水桶17的桶口處有一對把手18。旋轉臺22被支撐裝置23固定在第一層支架1的左側的架板24上。旋轉臺22由電機25驅動,通過變頻器可以任意調節該旋轉臺的轉速。變頻器放置在電源控制柜內。當旋轉臺轉動時,水桶與漏斗可隨著旋轉臺一起轉動。在電鍍過程中,該裝置除了加速鍍液的混合和使濃度、溫度保持一致外,還促進了物質的傳遞過程。
攪拌裝置,就是在第三層支架3的右側有一臺攪拌電機26,攪拌電機26豎直倒立放置。將攪拌電機的法蘭27用螺絲固定在支架層3上的架板28上。在攪拌電機26的旋轉軸上接攪拌器29,攪拌電機26正下方有一個圓柱形儲水桶30,攪拌器29需能夠伸入到儲水桶30中,儲水桶30被螺絲固定在第二層支架2右側的架板31上。儲水桶30底部有一出水孔,鋼制水管32成90度,其一端連接在該孔,另一端與電磁閥33的一端相連,電磁閥33的另一端與止水閥門34的一端用鋼制水管35相連。鋼制水管36成90度,其一端與止水閥門34的另一端相連,鋼制水管36的另一端與軟水管37的一端相連,軟水管37的另一端需能夠伸入到漏斗無底圓柱形水桶18中。支架右側有一進水管39,進水管39一端接水源,另一端接電磁閥38的一端,電磁閥38的另一端與U形水管40的一端相連,U形水管40的另一端伸入到儲水桶30中。
控制裝置,其實為一臺超聲波電源控制柜41,放置在第一層支架1的右側的架板42上,通過超聲波電源控制柜41可以控制超聲波換能器7產生超聲波。通過超聲波電源控制柜41還可以控制微型電動葫蘆5的啟動和停止,攪拌電機26的啟動和停止,旋轉臺22的驅動電機25的啟動和停止,旋轉臺22的加速和減速,電磁閥33和電磁閥38的開啟和閉合。
本文由北京凌鷹整理,轉載注明出處。
上一條: 吊鉤斷裂原因分析
下一條: 卸扣的基本形式及由來

